+7 (912)-751-33-24Заказать звонок
Заказать звонок

Оставьте Ваше сообщение и контактные данные и наши специалисты свяжутся с Вами в ближайшее рабочее время для решения Вашего вопроса.

Ваш телефон
Ваш телефон*
Ваше имя
Ваше имя

* - Поля, обязательные для заполнения

Сообщение отправлено
Ваше сообщение успешно отправлено. В ближайшее время с Вами свяжется наш специалист
Закрыть окно
arbatex@list.ru
Каталог товаров
Подписка на новости магазина

Подпишитесь на рассылку и получайте свежие новости и акции нашего магазина.

Описание товара:

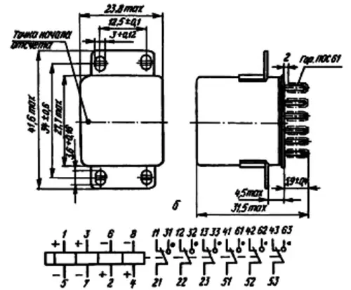
РПС36Б РС4.520.256-01 реле герметичное, поляризованное, двухпозиционное, двустабильное, с двумя переключающими контактами, служит для замыкания и размыкания различных участков электрических цепей при заданных изменениях электрических или неэлектрических входных величин. реле применяется в различных областях приборостроения, радиоэлектронной промышленности и других сферах.
312 руб. / шт Цена не является конечной и требует уточнения у менеджера.
В наличииВ наличии
Загрузка
Рассчитываем стоимость доставки
Пожалуйста подождите, рассчет займет немного времени

Описание товара

Описание реле РПС-36Б РС4.520.256-01


РПС36Б РС4.520.256-01 реле герметичное, поляризованное, двухпозиционное, двустабильное, с двумя переключающими контактами, служит для замыкания и размыкания различных участков электрических цепей при заданных изменениях электрических или неэлектрических входных величин. реле применяется в различных областях приборостроения, радиоэлектронной промышленности и других сферах.

Параметры и характеристики реле РПС-36Б РС4.520.256-01:


Реле РПС-36Б РС4.520.256-01 герметичное, поляризованное, двустабильное, двухпозиционное, с шестью переключающими контактами, предназначено для коммутации электрических цепей постоянного и переменного тока частотой до 1100 Гц.
Реле РПС-36А, РПС-36Б соответствует ГОСТ 16121-86 и техническим условиям ЯЛ0.452.078 ТУ.

Технические характеристики.
Ток питания - постоянный.
Сопротивление изоляции между токоведущими элементами, между токоведущими элементами и корпусом, МОм, не менее:
  - в нормальных климатических условиях - 200
при максимальной температуре (после выдержки обмотки под рабочим напряжением) - 20
  - в условиях повышенной влажности - 10
Испытательное переменное напряжение между токоведущими элементами, между токоведущими элементами и корпусом, В:
  - в нормальных климатических условиях - 500
  - в условиях повышенной влажности - 300
  - при пониженном атмосферном давлении - 180
Суммарное время нахождения обмоток реле под напряжением при максимальной температуре окружающей среды не более 100 ч.
Время срабатывания реле при минимальном рабочем напряжении 5 мс.
Масса реле РПС-36А не более 50 г, РПС-36Б - не более 52 г.
Минимальный срок службы и срок сохраняемости реле
  - при хранении в условиях отапливаемого хранилища, а также вмонтированных в защищенную аппаратуру или находящихся в комплекте ЗИП - 12 лет;
  - или при хранении в неотапливаемых хранилищах, в упаковке изготовителя и вмонтированных в аппаратуру - 6 лет, при этом допускается снижение сопротивления изоляции до 10 МОм;
  - или при хранении под навесом, в упаковке изготовителя и вмонтированных в аппаратуру - 3 года, при этом допускается снижение сопротивления изоляции до 10 МОм;
  - или при хранении на открытой площадке, вмонтированных в аппаратуру - 3 года, при этом допускается снижение сопротивления изоляции до 10 МОм.
Добавить отзыв
Ваша оценка:
Отправить отзыв

Похожие товары (8)

312 руб. / шт Цена не является конечной и требует уточнения у менеджера.
В наличииВ наличии
РПС36Б РС4.520.256-01
Задать вопрос

Ваше имя*
Контактный телефон*
E-mail
Вопрос*

* - Поля, обязательные для заполнения

Сообщение отправлено
Ваше сообщение успешно отправлено. В ближайшее время с Вами свяжется наш специалист
Закрыть окно
Купить в один клик
Заполните данные для заказа
Запросить стоимость товара
Заполните данные для запроса цены
Запросить цену Запросить цену