+7 (912)-751-33-24Заказать звонок
Заказать звонок

Оставьте Ваше сообщение и контактные данные и наши специалисты свяжутся с Вами в ближайшее рабочее время для решения Вашего вопроса.

Ваш телефон
Ваш телефон*
Ваше имя
Ваше имя

* - Поля, обязательные для заполнения

Сообщение отправлено
Ваше сообщение успешно отправлено. В ближайшее время с Вами свяжется наш специалист
Закрыть окно
arbatex@list.ru
Каталог товаров
Подписка на новости магазина

Подпишитесь на рассылку и получайте свежие новости и акции нашего магазина.

Описание товара:

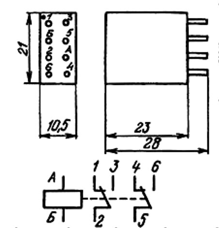
РЭС-48А РС4.590.208 реле герметичное, двухпозиционное, одностабильное, с двумя переключающими контактами, питаемое постоянным током применяется для получения независимой выдержки времени. Реле времени применяется в схемах, где необходимо автоматически выполнить какое-то действие через определенный промежуток времени. Механизм реле размещен в пластмассовом корпусе, на лицевой части реле выведен переключатель поддиапазона установок и ручка установки выдержки времени.
200 руб. / шт Цена не является конечной и требует уточнения у менеджера.
В наличииВ наличии
Загрузка
Рассчитываем стоимость доставки
Пожалуйста подождите, рассчет займет немного времени

Описание товара

Описание реле РЭС-48А РС4.590.208


РЭС-48А РС4.590.208 реле герметичное, двухпозиционное, одностабильное, с двумя переключающими контактами, питаемое постоянным током применяется для получения независимой выдержки времени. Реле времени применяется в схемах, где необходимо автоматически выполнить какое-то действие через определенный промежуток времени. Механизм реле размещен в пластмассовом корпусе, на лицевой части реле выведен переключатель поддиапазона установок и ручка установки выдержки времени.

Параметры и характеристики реле РЭС-48А РС4.590.208:


Реле РЭС-48А РС4.590.208 герметичное, двухпозиционное, одностабильное, с двумя переключающими контактами, питаемое постоянным током, предназначено для коммутации электрических цепей постоянного и переменного тока частотой до 1100 Гц.
Реле РЭС-48А соответствует требованиям ГОСТ 16121-86 и техническим условиям ЯЛ0.450.033ТУ.

Технические характеристики реле РЭС-48А РС4.590.208:
Ток питания ...... постоянный;
Сопротивление обмотки, Ом ...... 2610-3190;
Ток срабатывания, мА ...... 10;
Ток отпускания, мА ...... 1,2;
Рабочее напряжение, В ...... 54-66;
Сопротивление изоляции между токоведущими элементами, между токоведущими элементами и корпусом, МОм, не менее:
  - в нормальных климатических условиях ...... 200;
  - в условиях повышенной влажности ...... 10;
  - при максимальной температуре (после выдержки обмотки под рабочим напряжением) - 20;
Испытательное переменное напряжение между токоведущими элементами, между токоведущими элементами и корпусом, В:
  - в нормальных климатических условиях ...... 500;
  - в условиях повышенной влажности ...... 300;
  - при пониженном атмосферном давлении ...... 200;
Время непрерывного нахождения обмотки под напряжением не более ...... 10 с;
Время срабатывания реле не более ...... 10 мс;
Время отпускания не более ...... 5 мс;
Масса реле:
  - РЭС48А не более ...... 15,5 г;
  - РЭС48Б не более ...... 17 г.

Условия эксплуатации реле РЭС-48А:
Циклическое воздействие температур-60 и +85 °С.
Повышенная относительная влажность до 98% при температуре + 35 °С.
Синусоидальная вибрация (вибропрочность и виброустойчивость) в диапазоне частот:
- от 5 до 50 Гц - с амплитудой не более 2 мм;
- от 50 до 1500 Гц - с ускорением не более 300 м/с2;
- от 1500 до 3000 Гц - не более 200 м/с2
Ударная прочность:
При одиночных ударах
- с ускорением не более 5000 м/с2 - 2 удара;
- с ускорением не более 1500 м/с2 - 9 ударов.
При многократных ударах
- с ускорением не более 750 м/с2 - 4000 ударов;
- с ускорением не более 350 м/с2 - 10000 ударов.
Ударная устойчивость - с ускорением не более 350 м/с2
Постоянно действующие линейные ускорения не более 1000 м/с2.
Воздействие акустических шумов - в диапазоне частот 100-10000 Гц с уровнем звукового давления не более 63,2 Па.

Минимальный срок службы и срок сохраняемости реле РЭС-48А:
- в условиях отапливаемого хранилища, а также вмонтированных в защищенную аппаратуру или находящихся в комплекте ЗИП - 12 лет;
- или при хранении в неотапливаемых хранилищах, в упаковке изготовителя и вмонтированных в аппаратуру - 6 лет, при этом допускается снижение сопротивления изоляции до 10 МОм;
- или при хранении под навесом, в упаковке изготовителя и вмонтированных в аппаратуру - 3 года, при этом допускается снижение сопротивления изоляции до 10 МОм;
- или при хранении на открытой площадке, вмонтированных в аппаратуру - 3 года, при этом допускается снижение сопротивления изоляции до 10 МОм.
Добавить отзыв
Ваша оценка:
Отправить отзыв

Похожие товары (8)

200 руб. / шт Цена не является конечной и требует уточнения у менеджера.
В наличииВ наличии
РЭС-48А РС4.590.208
Задать вопрос

Ваше имя*
Контактный телефон*
E-mail
Вопрос*

* - Поля, обязательные для заполнения

Сообщение отправлено
Ваше сообщение успешно отправлено. В ближайшее время с Вами свяжется наш специалист
Закрыть окно
Купить в один клик
Заполните данные для заказа
Запросить стоимость товара
Заполните данные для запроса цены
Запросить цену Запросить цену